2025-04-05 08:37:08照明科技園
近十年來AI和游戲技術飛速發展,游戲公司也在爭相申請最瘋狂的專利創意。現在索尼的一項新專利,可能將徹底改變我們所知的的游戲開發。

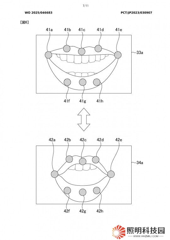
近日索尼公布了一項新專利,其描述了一套面向游戲NPC的次世代唇形同步系統,能輕松實現多語言版本下譯制臺詞與嘴部動作的匹配。
這套系統能評估NPC嘴部動作在所有支持語言中的表現效果,并為開發者生成相似度評分供開發參考。同時還包含自動化修復方案,通過動態調節譯制語音時長與角色下頜運動軌跡,精準對齊原始臺詞時序節奏。
索尼稱NPC口型與本地化語音的錯位會破壞沉浸感,從而讓玩家失望。傳統手動調整方式費時費力,而該技術將把開發團隊從重復勞動中解放出來。若該技術最終落地應用,可能會顯著縮短游戲開發時間。

聲明:本文內容及配圖由入駐作者撰寫或者入駐合作網站授權轉載。文章觀點僅代表作者本人,不代表本站立場。文章及其配圖僅供學習分享之
新品榜/熱門榜